Serie EPE
Cerchas - Postes de cerca
Espaciador tipo estribo, utilizado en postes, postes y casas prefabricadas.
Centra y posiciona el refuerzo de acero dentro de la forma.
Sustituye a los estribos de acero convencionales.

Imágenes meramente ilustrativas. Puede haber variaciones en la sombra y el color.
Producto aplicado





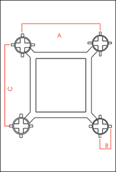
| Informaciones técnicas | ||||
|---|---|---|---|---|
| Código | Aço | B (cobrimento) | A | C |
| EPE 4x4 | Até 8,0 | 6,0 | 45,0 | 45,0 |
| EPE 6x6 | Até 8,0 | 10,0 | 60,0 | 60,0 |
| EPE 6x9 | Até 8,0 | 10,0 | 60,0 | 90,0 |
| EPE 7x7 | Até 8,0 | 10,0 | 70,0 | 70,0 |
| EPE 10x13 | Até 8,0 | 10,0 | 100,0 | 130,0 |

